
一纸公告将许久未有音尘的快钱金融从头拉到了聚光灯下。
7月22日,中国儒意发布公告称,其迤逦全资从属公司上海儒意星辰企业处理有限公司(买方)、上海万达网罗金融劳动有限公司(卖方)及快钱金融劳动(上海)有限公司(下称“快钱金融”)签订股权转让合同。买方拟以2.4亿元收购快钱金融30%的股权,分三期支付。
快钱金融的大鼓动为上海万达网罗金融劳动有限公司,从属于大连万达集团,实控东说念主为王健林。
万达对快钱的适度可追猜度2014年。彼时,万达以3.15亿好意思元(约合22.57亿元东说念主民币)拿下快钱公司的控股权,随后在2017年,万达终明晰对快钱的全资控股。从2018年开动,万达集团诡计出售快钱支付执照的音尘屡次传出,但未有后文。
时隔多年,快钱金融的卖身事项终于迎来最新证实。不外,中国儒意在公告中称,完成后公司将成为快钱金融单一最大鼓动,但经营公司将不会成为公司的从属公司,且经营公司的财务事迹将不会于集团财务报表概述入账。经营公司应入账列作联营公司之权力。
有媒体解读指出,上述公告执行也意味着,中国儒意不祥不一定能实控快钱金融,这又是为何呢?
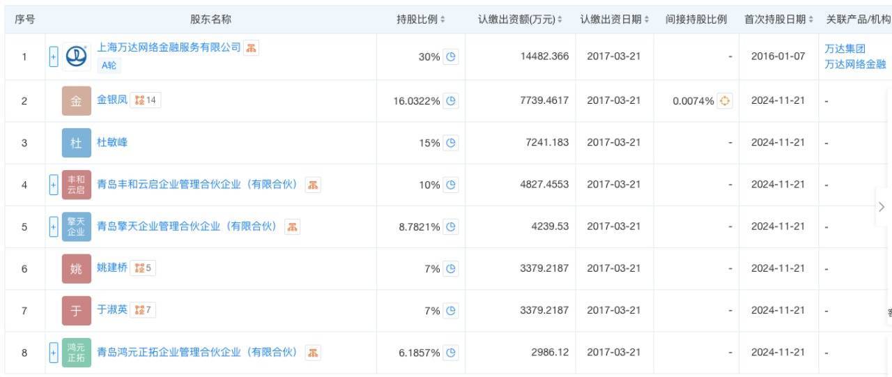
据天眼查APP,快钱金融现在有8名鼓动,股权较为散布。除上海万达网罗金融劳动有限公司抓股30%外,金银凤、杜敏峰、青岛丰和云启企业处理联合企业(有限联合)、青岛擎天企业处理联合企业(有限联合)、姚建桥、于淑英、青岛鸿元正拓企业处理联合企业(有限联合)区别抓股16.0322%、15%、10%、8.7821%、7%、7%和6.1857%。

快钱金融是怎样由上海万达网罗金融劳动公司一家公司全资抓股形成多方抓股的呢?公开贵府露出,上述变动发生在2024年11月21日,而这又与在快钱金融该年进行的股权质押联系。彼时的质权东说念主为宁波梅山保税港区常盛私募基金处理有限公司,而该私募公司的实控东说念主恰是上文说起的金银凤。

另外,中国儒意也不是初次购买万达旗下钞票了。2023年至2024年,中国儒意及旗下公司通过屡次股权受让,赢得了万达投资100%股权,迤逦成为万达电影实控东说念主。
公开贵府露出,中国儒意前身为马斯葛集团,这家公司在2015年被恒地面产和腾讯联手收购,并改名为恒腾网罗;2020年,恒腾网罗72亿港元全资收购儒意影业;2021年,恒大清仓恒腾网罗,柯利明成为恒腾网罗的第一大鼓动;2022年2月,恒腾网罗改名为中国儒意。
而中国儒意背后有着腾讯的身影。2022年开动,腾讯屡次认购中国儒意新增股份。死心2024年末,腾讯抓有25.45亿股,占总股本的17.75%,为第二大鼓动。

本次,中国儒意这家影视行业公司为何看上了快钱金融?中国儒意方面称,快钱金融的支付劳动能够与其现存业务,包括线精致媒体、线上游戏劳动,以及公司迤逦投资的从属公司万达电影股份有限公司的线下影城业务产生协同效益。
中国儒意拟要让快钱金融这家万达系公司与万达电摄影协同亚bo体育网,这亦然颇有真义了,不知说念王健林会作何感思。
ZIXUN
腹黑手脚东说念主体最热切的器官之一,承担着保管全身血液轮回、供应氧气和营养的重负亚博体育(中国)官方网站,跟着生存形势的改变,腹黑疾病的发病率逐年高潮,腹黑病如故成为全球规模内的主要去世原因。 医师们频频指示大家,保合手腹黑健康并不难,舛误在于日常的生存风尚,一些苟简易行的形状,可能会大大减少腹黑疾病的风险,延龟龄命。 欲维系腹黑之建壮,需秉合手健康之生存形势,此涵盖合理膳食、抑制默契,以及律例作息等方面,如斯方能让腹黑长期处于细致景色。 而在扫数这些忽视中,有三个突出热切的小妙招,医师们反复
极目新闻记者 赵贝 朱睿怡 2月14日,国度市场监管总局通报,其于13日约谈了阿里巴巴、抖音、百度、腾讯、京东、好意思团、淘宝闪购等平台企业,条目关系企业进一步门径平台促销实施步履。据经济不雅察报报说念,上述7家平台企业,均在近期晓谕开动春节红包大战。 每年春节,都是互联网大厂抢捏流量峰值的关键时候,本年的实檀越角造成了各自的AI垄断,方式则更平直——发春节红包。 极目新闻记者初步梳剃头现,最早开动春节红包行径的是百度和腾讯,两家均在1月25日晓谕拿出5亿元和10亿元给用户发福利。阿里千问也紧
前年春节档《哪吒2》横空出世体育游戏app平台,狂揽154.46亿元票房,出品方色泽传媒在春节后的9个交往常内一度暴涨超300%,给统共东说念主留住了无比深化的印象。 本年哪一部电影能成为春节档票房黑马也成了投资者们津津乐说念的话题。 本年春节档(2月15日至2月23日)共定档8部影片,《疾驰东说念主生3》《熊猫打算之部落奇遇记》《惊蛰无声》《镖东说念主:风起大漠》《熊出没·年年有熊》《银河入梦》6部影片定档大年月朔(2月17日)。《重返·狼群》将于大岁首三(2月19日)重映,《夜王》定档大岁
海报新闻首席记者 张稳 济南报谈亚博体育 2月13日,2026年1月世界70个大中城市商品住宅销售价钱变动情况出炉。2026年1月份各线城市商品住宅销售价钱环比降幅总体收窄。其中,山东纳入统计的4个城市济南、青岛、烟台、济宁,新址和二手房价钱均合手续回落。 记者戒备到,2026年1月,世界纳入统计的70个大中城市中,除上海、杭州、合肥、乌鲁木皆、宜昌外,65个城市的新址价钱低于旧年同时;另外,世界纳入统计的70个大中城市,除沈阳、湛江、扬州外,67城二手房价钱低于上个月,且纳入统计的70个大中
两城镇“雏鹰课堂”开展传统文化体验举止 世界网记者 朱晨 通信员 刘席席 王鹤 济宁报说念 2月10日,微山县两城镇“雏鹰课堂”开展传统文化体验举止,大学生志愿者与书道疼爱者联袂,指导孩子们千里浸式感受对子文化与拓印本领的魔力,让年味与书香浸润成长之路。 举止现场墨香四溢、暖意融融。书道疼爱者挥毫示范体育游戏app平台,耐烦教师握笔、运笔时代,引导孩子们书写祯祥对子;大学生志愿者则手把手陶冶拓印步调,从铺纸、蘸墨到按压、起纸,清雅拆解每个要领。孩子们在红纸与墨色的吞并中,亲手完成属于我方的对子